Kia Stonic (YB): Elektrische Anlage

Allgemeine informationen

ALLGEMEINE INFORMATIONEN ZUR FEHLERSUCHE

VOR DER FEHLERSUCHE

1.

Die betroffenen Sicherungen in dem jeweiligen Sicherungs-/Relaiskasten prüfen.

2.

Batterie auf Beschädigung, Ladezustand, Sauberkeit und feste Anschlüsse prüfen.

D 1,6 U2 TCI (Siehe Motorelektrik - "Ladesystem")

G 1,0 T-GDI KAPPA (Siehe Motorelektrik - "Ladesystem")

G 1,2 MPI KAPPA (Siehe Motorelektrik - "Ladesystem")

G 1,4 MPI KAPPA (Siehe Motorelektrik - "Ladesystem")

  

Vor dem Schnellladen der Batterie das Batteriemassekabel abklemmen, da sonst die Generatordioden zerstört werden.

Niemals den Motor anlassen, wenn das Batteriemassekabel nur lose auf dem Batteriepol sitzt, da sonst die Fahrzeugverkabelung stark beschädigt wird.

3.

Prüfen, ob der Generator-Antriebsriemen (D) ordnungsgemäß gespannt ist.

UMGANG MIT STECKERN

1.

Sicherstellen, dass die Kabelstecker sauber sind und dass die Steckerklemmen fest in den Steckern.

2.

Sicherstellen, dass Mehrfachstecker auf der Rückseite mit Elektronikfett abgedichtet sind (ausgenommen wasserdichte Stecker).

3.

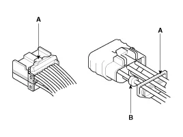
Alle Stecker besitzen eine Verriegelung (A), die durch Drücken entriegelt wird.

4.

An einigen Steckern ist seitlich eine Klammer angebracht, um die Stecker an der Karosserie oder an anderen Bauteilen befestigen zu können. Zum Entriegeln dieser Klammern muss der Entriegelungshebel nach oben gezogen werden.

5.

Zum Trennen einiger Steckverbinder mit Befestigungsklammer muss zuerst die Verriegelung gelöst und der Steckverbinder von der Halterung (A) getrennt werden.

6.

Beim Trennen von Steckverbindungen niemals an den Kabeln, sondern an den Steckerhälften ziehen.

7.

Vorher abgenommene Kunststoffabdeckungen müssen in jedem Fall wieder angebracht werden.

8.

Vor dem Anklemmen von Steckern darauf achten, dass die Steckerklemmen (A) ordnungsgemäß ausgerichtet und nicht verformt sind.

9.

berprüfen, dass der Halter (A) und die Gummidichtringe (B) nicht lose sind.

10.

Die Rückseiten einiger Stecker sind mit Elektronikfett abgedichtet. Fett bei Bedarf ergänzen und verunreinigtes Fett (A) ersetzen.

11.

Steckerhälften beim Anklemmen vollständig zusammenfügen und sicherstellen, dass die Verriegelung fest einrastet.

12.

Kabel immer so legen, dass die offene Seite der Abdeckung nach unten gerichtet ist.

UMGANG MIT KABELN UND KABELSTRÄNGEN

1.

Kabel und Kabelstränge mit den jeweiligen Kabelbändern an den dafür vorgesehenen Stellen sichern.

2.

Clips der Kabelhalter vorsichtig trennen und die Arretierungen (A) nicht beschädigen.

3.

Eine Zange (A) unter den Clipsockel und schräg durch das Loch schieben, dann die Verlängerungslaschen zum Lösen des Clips zusammendrücken.

4.

Nach der Montage der Kabelhalterungen kontrollieren, dass der Kabelstrang nicht mit sich bewegenden Bauteilen in Berührung kommen kann.

5.

Kabelstränge von der Abgasanlage und anderen heißen Bauteilen, scharfen Kanten, Bohrungsrändern und hervorstehenden Schrauben oder Bolzen fernhalten.

6.

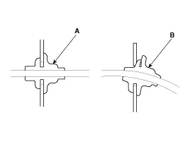
Kabeltüllen ordnungsgemäß (A) in die Bohrungen einsetzen. Kabeltüllen nicht verdreht lassen (B).

Prüfung und Instandsetzung

1.

Keine Kabel oder Kabelstränge mit beschädigter Isolierung verwenden.

Kabel oder Kabelstränge mit beschädigter Isolierung ersetzen oder durch Umwickeln mit geeignetem Isolierband instand setzen.

2.

Beim Einbauen von Bauteilen stets darauf achten, dass Kabel nicht eingeklemmt oder beschädigt werden.

3.

Bei der Verwendung elektrischer Messgeräte die Herstelleranweisungen und die Anweisungen in diesem Handbuch befolgen.

4.

Immer wenn es möglich ist, das Ausbauwerkzeug von der Kabelseite her an die zu prüfende Klemme anlegen (ausgenommen wasserdichte Kabelstecker).

5.

Konisch geformte Prüfspitzen verwenden.

Siehe Benutzerhandbuch für Kabel-Reparatursatz (Pub. Nr.: TRK 015.)

FEHLERSUCH IN FÜNF SCHRITTEN

1.

Kundenbeanstandung überprüfen

Alle Bauteile im betroffenen Stromkreis überprüfen, um die Kundenreklamation zu bestätigen. Die Symptome notieren. Mit der Zerlegung oder dem Test erst beginnen, wenn der Problembereich eingegrenzt ist.

2.

Schaltplan analysieren

Betroffenen Stromkreis im Schaltplan auffinden.

Stromkreisfunktion durch Verfolgung des Stromverlaufs von der Spannungsquelle über alle Komponenten bis zur Masse feststellen. Wenn mehrere Stromkreise gleichzeitig ausfallen, sind die Sicherung oder die Masseversorgung die wahrscheinliche Ursache.

Mit Hilfe der Fehlersymptome und dem Verständnis des Stromlaufplans eine oder mehrere mögliche Fehlerursachen festlegen.

3.

Das Problem durch Testen des Stromkreises eingrenzen.

Stromkreisprüfungen durchführen, um die in Schritt 2 erstellte Diagnose zu überprüfen. Daran denken, dass logische und einfache Vorgehensweisen die Grundlagen einer effizienten Fehlersuche sind.

Die wahrscheinlichste Fehlerursache zuerst prüfen. Solange es möglich ist, Prüfungen an leicht zugänglichen Stellen durchführen.

4.

Fehlerursache beseitigen

Wenn die spezifische Fehlerursache feststeht, entsprechendes System instand setzen. Geeignetes Werkzeug benutzen und sichere Arbeitsverfahren anwenden.

5.

Nachkontrolle

Schalten Sie alle Komponenten des fehlerhaften Stromkreises ein, um sicherzugehen, dass Sie das gesamte Problem gelöst haben. Prüfen Sie, wenn das Problem eine durchgebrannte Sicherung war, unbedingt alle Stromkreise, die an dieser Sicherung hängen. Achten Sie darauf, dass keine neuen Pro- bleme auftreten, und dass das ursprüngliche Problem nicht wieder auftritt.

Batterie rücksetzen

Beschreibung

Wird das Batteriekabel nach vorherigem Abziehen wieder angeschlossen, wird die Batterie wieder aufgeladen, nachdem sie sich zuvor entladen hat, oder wird die Speichersicherung nach ihrem Ausbau in die Verkleidung auf der Fahrerseite eingebaut, stets die in nachfolgender Tabelle erwähnten Systeme rücksetzen.

Außerdem, wenn Sicherungen nach ihrem Ausbau ersetzt oder wieder eingebaut werden, sollten sie gemäß nachfolgender Tabelle rückgesetzt werden. Beim Warten siehe die nachfolgende Tabelle.

SYSTEM
Rücksetzen
Elektrischer Fensterheber
Wenn das Fenster nicht richtig geschlossen oder geöffnet werden kann. Wenn die Batterie entladen ist oder wenn die betroffene Sicherung ersetzt oder wieder eingebaut wird, das Fensterhebersystem wie im Folgenden beschrieben rücksetzen.
1.

Zündung einschalten (ON)

2.

Fensterheberschalter nach oben drücken, bis die Fensterscheibe ganz geöffnet ist, dann noch ca. 1 s lang nach oben drücken.

SCHIEBEDACH
Immer wenn die Fahrzeugbatterie abgetrennt wird oder entladen ist oder wenn der Notgriff zum Öffnen und Schließen des Schiebedachs verwendet wird, muss das Schiebedach-System wie folgt rückgesetzt werden:
1.

Zündung einschalten und dann das Schiebedach komplett schließen.

2.

Schiebedach-Hebel lösen.

3.

Taste CLOSE länger als 10 Sekunden lang drücken und gedrückt halten, bis das Schiebedach geschlossen ist und sich ein wenig bewegt hat.

4.

Schiebedach-Hebel lösen.

5.

Taste CLOSE noch einmal 3 s gedrückt halten, bis folgende Bewegung des Schiebedachs ausgeführt wird.

HERUNTERKLAPPEN → ÖFFNEN→ SCHLIESSEN

Dann den Hebel lösen.

6.

Die Rückstellung des Schiebedachsystems ist abgeschlossen.

Trip-Computer
Wenn die Batterie ab- und wieder angeklemmt wird, werden die Einstellfunktionen des Bordcomputers initialisiert. Daher müssen dem Kunden diese Informationen erläutert werden.
Uhr
Wenn die Batterie ab- und wieder angeklemmt wird, wird die Uhr initialisiert. Daher muss die Uhr neu eingestellt werden. (Siehe Betriebsanleitung)
AUDIO
Wenn die Batterie ab- und wieder angeklemmt wird, werden die Voreinstellungen für die Radiosender des Kunden initialisiert. Daher müssen die Voreinstellungen für die Radiosender des Kunden vor der Wartung notiert werden, und nach der Wartung die Voreinstellungen für die Radiosender des Kunden einstellen.
Heizung und Belüftung
Klimaanlage
Wenn die Batterie ab- und wieder angeklemmt wird, werden Heizung und Klimaanlage initialisiert.
Daher müssen Heizung und Klimaanlage neu eingestellt werden.

Spezialwerkzeuge

SPEZIALWERKZEUGE

Werkzeugbezeichnung / Nummer
Abbildung
Beschreibung
Batterieprüfgerät für RKE-Batterie
09954-2P100

Messen der RKE-Batteriespannung
LDW- oder LKA-Korrekturvorrichtung
09890-3V100

Kalibrierung von LDW (Spurhaltewarnung) oder LKA (Spurhalteassistent)

Bauteile und bauteile-Übersicht BAUTEILE-ÜBERSICHT 1. Windschutzscheibe 2. Windschutzscheibenprofil Reparaturverfahren Ausbau    Handschuhe anziehen, um die Hände zu schützen.

Technische daten Technische Daten Bauteil Technische Daten MODELL Radio/MP3/Bluetooth (Typ A) Radio/MP3/Bluetooth (Typ B) Stromversorgung DC 14,4 V Kriechstrom Max.

Weitere Informationen:

Kia Stonic (YB) Reparaturanleitung: PTC-Heizung

Beschreibung und bedienung Beschreibung Der PTC (Positiver Temperaturkoeffizient)-Zuheizer befindet sich am Ausgang oder auf der Rückseite des Wärmetauschers. Beim PTC-Zuheizer handelt es sich um einen elektrischen Zuheizer mit PTC-Element als zusätzlichem Heizgerät, das die unzureichende Heizungsleistung bei hoch-effiziente

Kia Stonic (YB) Reparaturanleitung: Gebläsemotor

Reparaturverfahren PRÜFUNG 1. B+ an den Gebläsemotor anklemmen und prüfen, ob sich der Motor ordnungsgemäß dreht. 2. Wenn der Gebläsemotor nicht vorschriftsgemäß läuft, durch einen nachweislich einwandfreien Motor ersetzen und auf ordnungsgemäße Funktion prüfen.

Kategorien

 
Copyright © 2026 www.stonicde.com - 0.0177