| EINBAULAGE DER KOMPONENTEN |
| Kraftstofftank & Einfüllstutzen |

| 1 2 3. Kraftstoffpumpenabdeckung 4. Kraftstoffeinfüllschlauch 5. Höhenverstellrohr 6. Dampfschlauch (Aktivkohlebehälter → Saugrohr) |
7. Dampfschlauch (Aktivkohlebehälter↔
Kraftstofftank) 8. Dampfschlauch (Aktivkohlebehälter → Luftfilter) 9. Dampfschlauch (Luftfilter → Luftdruck) 10. Kraftstofftankband 11. Einfüllstutzen |
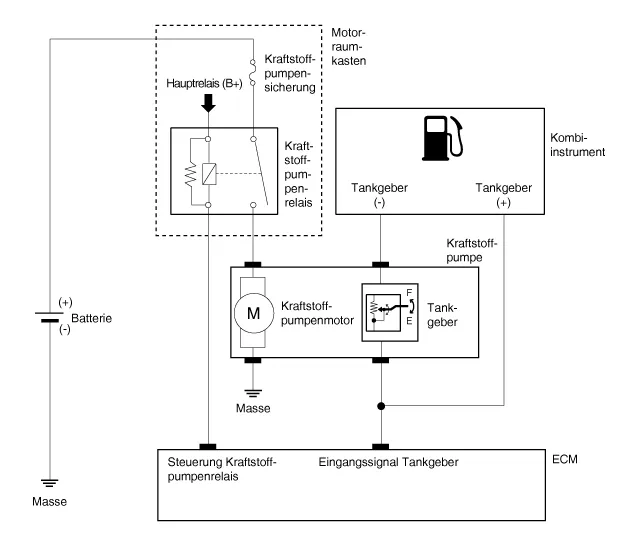
| Kraftstoffpumpe |

| 1. Zylinderkopf 2. Kraftstoffdruckregler 3. KRAFTSTOFFFILTER 4. Kraftstoffpumpenmotor 5. Vorfilter 6. Behälterdeckel |
7. Tankgeber 8. Kraftstoffpumpenplattendichtung 9. Kraftstoffpumpenmotor und Tankgeber-Steckverbinder 10. Kraftstoffzufuhranschluss 11. Kraftstoffzufuhrrohr |
| Hochdruck-Kraftstoffleitung |

| 1. Hochdruckpumpe 2. Hochdruck-Kraftstoffleitung |
3. Zuführleitung 4. Injektor |
Beim Ausbau der Hochdruck-Kraftstoffpumpe, der Hochdruck-Kraftstoffleitung, der Förderleitung und des Einspritzventils besteht Verletzungsgefahr durch Austreten des unter hohem Druck stehenden Kraftstoffs. Daher nach dem Abstellen etwas warten, bevor mit Reparaturarbeiten begonnen wird. |
| Schematische Darstellungen |

| KRAFTSTOFFDRUCK PRÜFEN |
| 1. |
Restlichen Druck aus der Kraftstoffleitung ablassen. (Siehe Kraftstoffversorgung - "Restdruck in Kraftstoffleitung ablassen")
|
| 2. |
Spezialwerkzeug montieren.
|
| 3. |
An den Anschlüssen entlang der Kraftstoffzufuhrleitung, der Förderleitung und den SST-Komponenten bei eingeschalteter Zündung auf Kraftstoffundichtigkeit prüfen. |
| 4. |
Kraftstoffdruck messen.
|
| 5. |
Restlichen Druck aus der Kraftstoffleitung ablassen. (Siehe Kraftstoffversorgung - "Restdruck in Kraftstoffleitung ablassen")
|
| 6. |
Testende
|
| Restdruck in Kraftstoffleitung |
Wenn die Sicherung der Hochdruck-Kraftstoffpumpe, die Kraftstoffleitung die Förderleitung oder das Einspritzventil unmittelbar nach dem Abstellen des Motors ausgebaut werden, kann es durch unter hohem Druck stehenden, herausspritzenden Kraftstoff zu Verletzungen kommen. Restdruck in Kraftstoffleitung ablassen. Dabei das Verfahren "Ablassen des restlichen Kraftstoffdrucks" beachten, bevor irgendwelche Komponenten des Hochdruck-Kraftstoffsystems ausgebaut werden. |
Schutzbrille und kraftstoffbeständige Handschuhe tragen. |
| 1. |
Zündung ausschalten und Massekabel (-) der Batterie abklemmen. |
| 2. |
Sicherung der Kraftstoffpumpe (A) ausbauen.
|
| 3. |
Batteriemassekabel (-) wieder anschließen. |
| 4. |
Den Motor 1 Minuten laufen lassen, um den Druck in der Niederdruckleitung zu senken. |
| 5. |
Motor ausschalten. |
| 6. |
Niederdruckleitungs-Schnellanschluss von der Hochdruckpumpe abtrennen. Beim Trennen der Kraftstoffleitung die Öffnung mit Lappen abdecken und auslaufenden Kraftstoff auffangen. |
| 7. |
Motor anlassen und im Leerlauf laufen lassen, bis der Motor stoppt. Hierbei muss der Druck unter 30 psi liegen. |
| 8. |
Mit den Wartungs- und Reparaturarbeiten fortfahren. Beim Öffnen des Hochdrucksystems die Öffnung mit Lappen abdecken und auslaufenden Kraftstoff auffangen. |
| 9. |
Der Einbau der ausgebauten Teile erfolgt in der umgekehrten Reihenfolge des Ausbaus. Motor anlassen und die einwandfreie Funktion sicherstellen; überprüfen, dass kein Kraftstoff austritt. |
| 10. |
Nach Beendigung die Fehlercodes am KDS löschen (durch obiges Verfahren wird ein Fehlercode gesetzt). |
Beschreibung und bedienung Beschreibung Der Haubenschalter gehört ebenfalls zu den Einflussfaktoren für die Berechnung der ISG-Funktion.
Technische daten SPEZIFIKATION Bauteil SPEZIFIKATION Kraftstofftank-Fassungsvermögen (L) 45 L Reparaturverfahren Ausbau 1.
Bauteile und bauteile-Übersicht BAUTEILE-ÜBERSICHT FAHRERFENSTERHEBERSCHALTER BELEGUNG DER STECKERKLEMMEN [Sicherheitsfensterheber Fahrerseite vorne/hinten - Autom. Schließen/Öffnen] (Linkslenkung) Nr.
Beschreibung und bedienung Beschreibung In der Heizungseinheit sind der Modus-Stellantrieb und der Temperatur-Stellantrieb eingebaut. Der Temperatur-Stellantrieb befindet sich an der Heizungseinheit. Er regelt die Temperatur wie folgt : Durch ein Signal vom Steuergerät wird die Temperaturklappe durch entsprechende Betätigung