Kia Stonic (YB): Bremsanlage / ESC-System (Elektronische Stabilitätssteuerung)

Kia Stonic (YB) Reparaturanleitung / Bremsanlage / ESC-System (Elektronische Stabilitätssteuerung)

Bauteile und bauteile-Übersicht

BAUTEILE-ÜBERSICHT

1. ESC-Steuergerät
2. Vorderrad-Drehzahlsensor
3. Hinterraddrehzahlsensor

Beschreibung und bedienung

Beschreibung der ESC

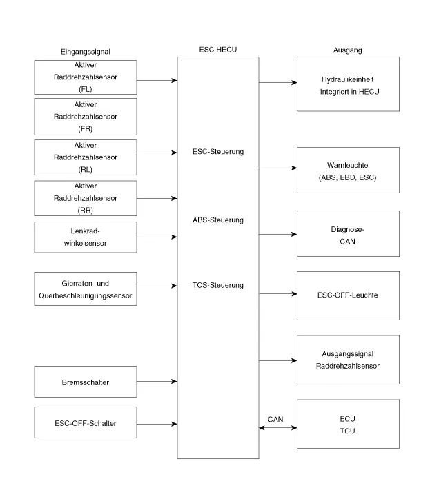
Die Elektronische Stabilitätssteuerung (ESC) erfasst gefährliche Fahrsituationen wie z.B. Panikreaktionen in gefährlichen Situationen und stabilisiert das Fahrzeug durch Abbremsen einzelner Räder und durch Eingriffe in die Steuerung des Motors.

Das ESC erweitert die Funktionen ABS, TCS, EBD und ESC um eine weitere Funktion, die als aktive Gierregelung (AYC) bekannt ist. Während die ABS/TCS-Funktion den Radschlupf während des Brems- und Beschleunigungsvorgangs reguliert und somit im wesentlichen in die Dynamik des Fahrzeugs in Längsrichtung eingreift, stabilisiert die aktive Gierregelung das Fahrzeug um seine vertikale Achse.

Dies wird durch einen Eingriff in den individuellen Bremsvorgang des einzelnen Rads sowie durch eine Anpassung des derzeitigen Motordrehmoments erreicht, ohne dass der Fahrer aktiv zu werden braucht.

Das ESP besteht im wesentlichen aus drei Baugruppen :den Sensoren, der elektronischen Steuereinheit und denStellmotoren.

Die Stabilitätskontrolle funktioniert unter allen Fahr- und Betriebsbedingungen. Unter bestimmten Fahrbedingungen kann die ABS/TCS-Funktion gleichzeitig mit der ESC-Funktion aktiviert werden, als Reaktion auf einen Befehl vom Fahrer.

Bei einem Ausfall der Stabilitätskontrollfunktion wird die grundlegende Sicherheitsfunktion, ABS, auch weiterhin aufrecht erhalten.

Beschreibung der ESC-Regulierung

Das ESC-System umfasst die ABS/EBD-, TSC- und AYC-Funktionen

ABS/EBD-Funktion : Das ECU wandelt das aktive Sensorsignal (Stromverschiebung), das von den vier Radsensoren kommt, in eine Rechteckwelle um. Unter Verwendung des Eingangs obiger Signale berechnet das ECU die Fahrgeschwindigkeit sowie die Beschleunigung und die Abbremsung der vier Räder. Außerdem beurteilt das ECU, ob das ABS/EBD eingeschaltet werden sollte oder nicht.

Die TCS-Funktion verhindert ein Durchrutschen der Räder in Antriebsrichtung durch Addieren von Bremsdruck und durch Reduzieren des Motordrehmoments über die CAN-Kommunikation. Die TCS-Funktion verwendet das Raddrehzahlsensorsignal, um den Radschlupf zu bestimmen, soweit die ABS-Funktion betroffen ist.

Die AYC-Funktion verhindert ein instabiles Manövrieren des Fahrzeugs. Um das Fahrzeugmanöver zu bestimmen, verwendet die AYC-Funktion Manövriersensorsignale (Gierwinkelsensor, Sensor für Querbeschleunigung, Lenkwinkelsensor).

Wenn das Fahrzeugmanöver instabil ist (Übersteuern oder Untersteuern), übt die AYC-Funktion Bremsdruck auf ein bestimmtes Rad aus und sendet das Signal zum Reduzieren des Motordrehmoments über CAN.

Nach Einschalten der Zündung diagnostiziert das ECU kontinuierlich die Systemstörung (Selbstdiagnose). Wenn eine Systemstörung erfasst wird, informiert das ECU den Fahrer über die BREMS-/ABS-/ESC-Warnleuchte über die Systemstörung (Sicherheitswarnung).

PLAN DER EIN-/AUSGÄNGE

ESC-Betriebsmodus
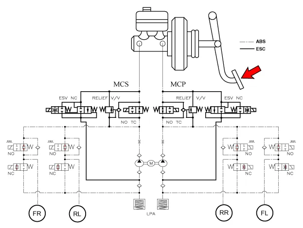
ESC-Hydraulikplan

1.

ESC Keine Funktion: Normales Bremsen.

Magnetventil
Durchgang
Ventil
Pumpe
TC-Ventil
Einlass (NO)
Aus
öffnen
Aus
Aus
Auslass (NC)
Aus
schließen

2.

ESC-Betrieb

Magnetventil
Durchgang
Ventil
Pumpe
TC-Ventil
Untersteuern
(Nur im
Hinterrad)
Einlass (NO)
Aus
öffnen
Ein
Ein
Auslass (NC)
Aus
schließen
bersteuern
(Nur außerhalb
des Vorderrads)

Einlass (NO)
Aus
öffnen
Auslass (NC)
Aus
schließen

Modul der ABS-Warnleuchte

Das Modul der aktiven ABS-Warnleuchte weist auf eine Selbstprüfung sowie auf einen ABS-Fehlerzustand hin. Die ABS-Warnleuchte leuchtet unter den folgenden Bedingungen auf :

während der Initialisierungsphase nach Einschalten der Zündung. (kontinuierlich 3 Sekunden lang).

Wenn die ABS-Funktion wegen eines Fehlers deaktiviert ist.

Im Diagnosemodus.

Wenn der ECU-Stecker vom ECU abgezogen wird.

Instrumentenblockleuchte schaltet sich ein, wenn die Kommunikation mit dem CAN-Modul nicht möglich ist.

FESTSTELLBREMSEN-/EBD-WARNLEUCHTENMODUL

Das Modul der aktiven EBD-Warnleuchte weist auf eine Selbstprüfung sowie auf einen EBD-Fehlerzustand hin. Wenn allerdings der Feststellbremsschalter eingeschaltet ist, leuchtet die EBD-Warnleuchte stets auf, ungeachtet des Betriebszustands des EBD-Systems. Die EBD-Warnleuchte leuchtet unter den folgenden Bedingungen auf :

während der Initialisierungsphase nach Einschalten der Zündung. (kontinuierlich 3 Sekunden lang).

Bei eingeschaltetem Feststellbremsschalter oder bei niedrigem Stand der Bremsflüssigkeit.

Bei defekter EBD-Funktion.

Im Diagnosemodus.

Wenn der ECU-Stecker vom ECU abgezogen wird.

Instrumentenblockleuchte schaltet sich ein, wenn die Kommunikation mit dem CAN-Modul nicht möglich ist.

ESC-Funktion/Warnleuchte

Die ESC-Funktions-/Warnleuchte weist auf eine Selbstprüfung sowie auf einen ESC-Fehlerzustand hin.

Die Warnleuchte der ESC-Funktion leuchtet unter den folgenden Bedingungen auf :

während der Initialisierungsphase nach Einschalten der Zündung. (kontinuierlich 3 Sekunden lang).

Wenn die Funktion des ESC durch eine Systemstörung blockiert ist.

Wenn die ESC-Steuerung in Betrieb ist. (Blinkt - 2Hz)

Im Diagnosemodus (außer Standardmodus)

Instrumentenblockleuchte schaltet sich ein, wenn die Kommunikation mit dem CAN-Modul nicht möglich ist.

ESC-Aus-Leuchte

Die ESC-Aus-Funktionsleuchte weist auf eine Selbstprüfung sowie auf einen ESC-Fehlerzustand hin.

Die Leuchte ESC Aus leuchtet unter den folgenden Bedingungen auf :

Während der Initialisierungsphase nach IGN ON. (kontinuierlich 3 Sekunden lang).

ESC-Aus-Leuchte schaltet sich ein, wenn der Fahrer den ESP-Aus-Schalter betätigt.

ESC-ONOFF-SCHALTER

Der ESC-Ein-/Ausschalter wird verwendet, um die ESC-Funktion zwischen den Zuständen Ein/Aus basierend auf dem vom Fahrer eingegebenen Eingangssignal umzuschalten.

Der Ein-/Ausschalter ist ein Schließkontakt-Tastschalter. Schließkontakte aktivieren die Zündung.

Die ESC-Funktion ist anfänglich eingeschaltet, und der Zustand wird über Kippschalter umgeschaltet.

Schematische darstellungen

Schaltplan

KLEMMENBESCHREIBUNG

STIFT-Nr.
Beschreibung
Strom
Widerstand
BEMERKUNG
(AMPS)
(mΩ)
1
B+ PUMPENMOTORSTROM
137(RUSH)
10

2
C_CAN LOW
30 mA
250

5
Ein-/Ausgang TPMS-Rückstellschalter
10mA
250

11
Feststellbremsschaltersignal
10mA
250

13
GND_MASSE DES PUMPENMOTORS
137(RUSH)
10

14
C_CAN HIGH
30 mA
250

16
Bremslichtschaltersignal
10 mA
250

17
Raddrehzahlsensor (vorne rechts)
16mA
250

18
STROM RADDREHZAHLSENSOR (FR)
30 mA
250

19
STROM RADDREHZAHLSENSOR (RR)
30 mA
250

20
MASSE RADDREHZAHLSENSORSIGNAL (RL)
16,8 mA
250

21
MASSE RADDREHZAHLSENSORSIGNAL (FL)
16,8 mA
250

22
L-CAN High
30 mA
250

23
Signal ESC-ON/OFF-Schalter
10 mA
250

24
HAC-ANTRIEBSSIGNAL
200 mA
250

25
BATTERIE (+)-MAGNET
40
10

27
ESS-Antriebssignal
200mA
250

29
Zündung 1
50mA
60

31
MASSE RADDREHZAHLSENSORSIGNAL (FR)
16,8mA
250

32
MASSE RADDREHZAHLSENSORSIGNAL (RR)
16,8mA
250

33
STROM RADDREHZAHLSENSOR (RL)
30 mA
250

34
STROM RADDREHZAHLSENSOR (FL)
30 mA
250

35
L-CAN Low
30 mA
250

36
RÜCKWÄRTSGANGSCHALTERSIGNAL
10mA
250

37
Kupplungsschaltersignal
10 mA
250

38
Masse
40
10


Bauteile und bauteile-Übersicht BAUTEILE-ÜBERSICHT Reparaturverfahren Ausbau 1. Hinterräder und -reifen abmontieren.

Bauteile und bauteile-Übersicht BAUTEILE-ÜBERSICHT 1. ESC-Steuermodulsteckverbinder 2. ESC-Steuergerät 3. ESC-Halterung Reparaturverfahren Ausbau 1.

Weitere Informationen:

Kia Stonic (YB) Reparaturanleitung: Regensensor

Bauteile und bauteile-Übersicht BAUTEILE-ÜBERSICHT Schematische darstellungen Schaltplan Beschreibung und bedienung Beschreibung Integrierter Regensensor Der integrierte Regensensor (A) steuert drei Systeme: Scheibenwischer, Auto-Licht und zentrale Klimaanlage.

Kia Stonic (YB) Reparaturanleitung: Kompressor

Beschreibung und bedienung Beschreibung Der Kompressor ist die Antriebseinheit der Klimaanlage. Er befindet sich an der Seite des Motorblocks und wird mit einem Keilrippenriemen vom Motor angetrieben. Der Kompressor verändert den niedrigen Druck und das Kältemittelgas mit niedriger Temperatur in hohen Druck und Kältemittelg

Kategorien

 
Copyright © 2026 www.stonicde.com - 0.0166