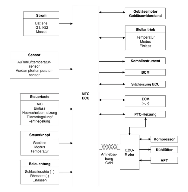
| BAUTEILE-ÜBERSICHT |

BELEGUNG DER STECKERKLEMMEN
|
Nr. |
STECKER A |
STECKER B |
|
1 |
Niedrig |
BATTERIE |
|
2 |
Gemeinsam |
ISG-Batterie |
|
3 |
Masse |
Beleuchtung (-) |
|
4 |
Gebläsestufe 'mittel/langsam' |
Sensor (+5 V) |
|
5 |
Gebläsestufe 'mittel/hoch' |
⁻ |
|
6 |
hoch |
Rückmeldung Einlass-Stellantrieb |
|
7 |
|
Verdampfersensor (+) |
|
8 |
Umgebungstemperatursensor (+) |
|
|
9 |
⁻ |
|
|
10 |
⁻ |
|
|
11 |
Einlass-Stellantrieb (Frischluft) |
|
|
12 |
Einlass-Stellantrieb (Umluft) |
|
|
13 |
HTD |
|
|
14 |
HINTERER DEFROSTER S/W |
|
|
15 |
Signal Gebläse EIN an Netz |
|
|
16 |
Beleuchtung (-) |
|
|
17 |
IGN2 |
|
|
18 |
IGN1 |
|
|
19 |
⁻ |
|
|
20 |
Max Signal Gebläse EIN |
|
|
21 |
PTC-Relais 3 |
|
|
22 |
PTC-Relais 2 |
|
|
23 |
Signal PTC EIN |
|
|
24 |
Sperre Aus (+) |
|
|
25 |
⁻ |
|
|
26 |
Fahrwerk CAN [High] |
|
|
27 |
Fahrwerk CAN [Low] |
|
|
28 |
⁻ |
|
|
29 |
ECV (-) |
|
|
30 |
ECV (-) |
|
|
31 |
Sensormasse |
|
|
32 |
Masse |
| SCHALTPLAN |

| AUS- UND EINBAU |
| 1. |
Batteriemassekabel abklemmen. |
| 2. |
Untere Armaturenbrettverkleidung abbauen. (Siehe Karosserie - "Untere Armaturenbrettverkleidung") |
| 3. |
Armaturenbrettverkleidung auf Beifahrerseite ausbauen. (Siehe Karosserie - "Armaturentafelverzierung [RH]") |
| 4. |
Handschuhfach ausbauen. (Siehe Karosserie - "Handschuhfachgehäuse") |
| 5. |
Schraube lösen und Fußraum-Belüftungsschacht (A) auf der Fahrerseite abbauen.
|
| 6. |
Modus-Steuerseilzug (A) abziehen.
|
| 7. |
Schraube lösen und Fußraum-Belüftungsschacht (A) auf der Beifahrerseite abbauen.
|
| 8. |
Temperatursteuerkabel (A) abklemmen.
|
| 9. |
Befestigungsschrauben lösen, dann Heizungs- und Klimaanlagen-Steuergerät (A) ausbauen.
|
| 10. |
Steckverbinder (A) von Klimaanlagen- und Heizungssteuerung abziehen.
|
| 11. |
Der Einbau erfolgt in der umgekehrten Reihenfolge des Ausbaus. |
Bauteile und bauteile-Übersicht BAUTEILE-ÜBERSICHT BELEGUNG DER STECKERKLEMMEN Nr. STECKER A STECKER B 1 BATTERIE ⁻ 2 ISG-Batterie (+) ⁻ 3 Beleuchtung (-) ⁻ 4 Sensor (+5 V) Beschlagentfernungsstellantrieb Rückmeldung 5 Rückmeldung Modus-Stellantrieb Beschlagentfernungsstellantrieb (offen) 6 Rückmeldung Temperatur-Stellantrieb Beschlagentfernungsstellantrieb (geschlossen) 7 Rückmeldung Einlass-Stellantrieb ⁻ 8 Verdampfersensor (+) ⁻ 9 Umgebungstemperatursensor (+) ⁻ 10 Modus-Stellantrieb (Lüftung) ⁻ 11 Modus-Stellantrieb (DEF) Heckscheibenheizungsstrom 12 Temperatur-Stellantrieb (Kühl) Beschlagentfernungstemperatur 13 Temperatur-Stellantrieb (Warm) Beschlag entfernen SCK 14 Einlass-Stellantrieb (Frischluft) Beschlagentfernungsdaten 15 Einlass-Stellantrieb (Umluft) ⁻ 16 HTD Masse 17 HINTERER DEFROSTER S/W 18 ⁻ 19 ⁻ 20 Beleuchtung (-) 21 IGN2 22 IGN1 23 GEBLÄSEMOTOR (+) 24 FOTOSENSOR (-) 25 ⁻ 26 ⁻ 27 ⁻ 28 PTC-Relais 3 29 PTC-Relais 2 30 Signal PTC EIN 31 Sperre Aus (+) 32 ⁻ 33 Fahrwerk CAN [High] 34 Fahrwerk CAN [Low] 35 FET (Ablassschlauch-Rückmeldung) 36 Fet (Gate) 37 ECV (-) 38 ECV (-) 39 Sensormasse 40 Masse Schematische darstellungen Schematische Darstellungen Reparaturverfahren Eigendiagnose 1.
Reparaturverfahren Smart Key Speichern des Smart-Key-Codes 1. Das KDS an den Diagnosestecker (16P) unter der Armaturenbrettabdeckung auf der Fahrerseite anschließen und einschalten. 2. Erst das Fahrzeugmodell und danach die Funktion 'Speichern des Smart-Key-Codes' wäh
Beschreibung und bedienung Beschreibung Der Klimaanlagenluftfilter befindet in der Gebläseeinheit. Er beseitigt Fremdkörper und Geruch. Dieser Fremdpartikelfilter dient als Geruchsfilter sowie als herkömmlicher Staubfilter, um eine angenehme Atmosphäre im Innenraum zu schaffen.