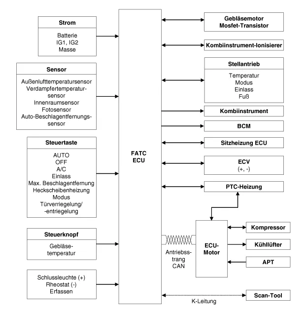
| BAUTEILE-ÜBERSICHT |

BELEGUNG DER STECKERKLEMMEN
|
Nr. |
STECKER A |
STECKER B |
|
1 |
BATTERIE |
⁻ |
|
2 |
ISG-Batterie (+) |
⁻ |
|
3 |
Beleuchtung (-) |
⁻ |
|
4 |
Sensor (+5 V) |
Beschlagentfernungsstellantrieb Rückmeldung |
|
5 |
Rückmeldung Modus-Stellantrieb |
Beschlagentfernungsstellantrieb (offen) |
|
6 |
Rückmeldung Temperatur-Stellantrieb |
Beschlagentfernungsstellantrieb (geschlossen) |
|
7 |
Rückmeldung Einlass-Stellantrieb |
⁻ |
|
8 |
Verdampfersensor (+) |
⁻ |
|
9 |
Umgebungstemperatursensor (+) |
⁻ |
|
10 |
Modus-Stellantrieb (Lüftung) |
⁻ |
|
11 |
Modus-Stellantrieb (DEF) |
Heckscheibenheizungsstrom |
|
12 |
Temperatur-Stellantrieb (Kühl) |
Beschlagentfernungstemperatur |
|
13 |
Temperatur-Stellantrieb (Warm) |
Beschlag entfernen SCK |
|
14 |
Einlass-Stellantrieb (Frischluft) |
Beschlagentfernungsdaten |
|
15 |
Einlass-Stellantrieb (Umluft) |
⁻ |
|
16 |
HTD |
Masse |
|
17 |
HINTERER DEFROSTER S/W |
|
|
18 |
⁻ |
|
|
19 |
⁻ |
|
|
20 |
Beleuchtung (-) |
|
|
21 |
IGN2 |
|
|
22 |
IGN1 |
|
|
23 |
GEBLÄSEMOTOR (+) |
|
|
24 |
FOTOSENSOR (-) |
|
|
25 |
⁻ |
|
|
26 |
⁻ |
|
|
27 |
⁻ |
|
|
28 |
PTC-Relais 3 |
|
|
29 |
PTC-Relais 2 |
|
|
30 |
Signal PTC EIN |
|
|
31 |
Sperre Aus (+) |
|
|
32 |
⁻ |
|
|
33 |
Fahrwerk CAN [High] |
|
|
34 |
Fahrwerk CAN [Low] |
|
|
35 |
FET (Ablassschlauch-Rückmeldung) |
|
|
36 |
Fet (Gate) |
|
|
37 |
ECV (-) |
|
|
38 |
ECV (-) |
|
|
39 |
Sensormasse |
|
|
40 |
Masse |
| Schematische Darstellungen |

| Eigendiagnose |
| 1. |
Selbstdiagnoseprozess
|
| 2. |
Wie die Eigendiagnose ausgelesen wird Während der Selbstdiagnose flackert der entsprechende Fehlercode alle 0,5 s auf der Temperaturanzeige und zeigt zwei Zahlen an. Fehlercodes werden in numerischem Format angezeigt.
|
| 3. |
FEHLERCODEANZEIGE
|
| 4. |
Werden bei der Prüfung Fehlercodes angezeigt, die Fehlfunktion anhand der Fehlercodetabelle prüfen. |
| 5. |
Notlaufregelung
|
| AUS- UND EINBAU |
| 1. |
Batteriemassekabel abklemmen. |
| 2. |
Armaturenbrettverkleidung auf Beifahrerseite ausbauen. (Siehe Karosserie - "Armaturentafelverzierung [RH]") |
| 3. |
Heizungs- und Klimaanlagen-Steuergerät (A) nach Lösen der Befestigungseinheit entfernen.
|
| 4. |
Steckverbinder (A) und Luftschlauch (B) abziehen.
|
| 5. |
Der Einbau erfolgt in der umgekehrten Reihenfolge des Ausbaus. |