| BAUTEILE-ÜBERSICHT |

| 1. Bremsscheibe vorn 2. Staubschutz |
3. Achsschenkel |
| Ausbau |
| 1. |
Radmuttern, Vorderrad und -reifen von vorderer Radnabe abnehmen.
|
| 2. |
Durch Hämmern auf einen Meißel die Verstemmung der Antriebswellen-Sicherungsmutter lösen.
|
| 3. |
Verstemmmutter (A) von der Vorderachse lösen.
|
| 4. |
Befestigungsschrauben des Bremssattels ausschrauben, dann den Bremssattel (A) mit Draht aufhängen.
|
| 5. |
Schraube (A) der Bremssattelschlauch-Halterung und Schraube (B) der Raddrehzahlsensorhalterung ausschrauben.
|
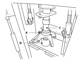
| 6. |
Spurstangenkugelgelenk mit Spezialwerkzeug (09568-34000) vom Achsschenkel trennen.
|
| 7. |
Schraube und Mutter (A) des unteren Tragarms entfernen.
|
| 8. |
Vorderen unteren Tragarm mit Spezialwerkzeug (0K545-A9100) vom Achsschenkel abbauen.
|
| 9. |
Schrauben lösen und Federbeineinheit (A) aus dem Achsschenkel ausbauen.
|
| PRÜFUNG |
| 1. |
Nabe auf Rissbildung und Verzahnungen auf Verschleiß prüfen. |
| 2. |
Bremsscheibe auf Riefen und Beschädigung prüfen. |
| 3. |
Achsschenkel auf Rissbildung prüfen |
| 4. |
Lager auf Rissbildung oder Beschädigung prüfen. |
| ZERLEGUNG |
| 1. |
Sprengring (A) entfernen.
|
| 2. |
Nabe vom Achsschenkel abbauen.
|
| 3. |
Lagerinnenlaufring von der Nabe abbauen.
|
| 4. |
Lageraußenring vom Achsschenkel abbauen.
|
| 5. |
Nabenlager durch ein neues ersetzen. |
| Zusammenbau |
| 1. |
Nabe am Achsschenkel anbauen.
|
| 2. |
Nabe am Achsschenkel anbauen.
|
| 3. |
Sprengring (A) anbringen.
|
Bauteile und bauteile-Übersicht BAUTEILE-ÜBERSICHT (RECHTS) 1. Kugelgelenk 2. Clip 3. Faltenbalgschelle (Kugelgelenk) 4.
Bauteile und bauteile-Übersicht BAUTEILE-ÜBERSICHT 1. Drehstab 2. Hintere Feder 3. Hinterradbremsscheibe Reparaturverfahren Ausbau 1.
Beschreibung und bedienung Beschreibung Der PTC (Positiver Temperaturkoeffizient)-Zuheizer befindet sich am Ausgang oder auf der Rückseite des Wärmetauschers. Beim PTC-Zuheizer handelt es sich um einen elektrischen Zuheizer mit PTC-Element als zusätzlichem Heizgerät, das die unzureichende Heizungsleistung bei hoch-effiziente
Reparaturverfahren PRÜFUNG 1. B+ an den Gebläsemotor anklemmen und prüfen, ob sich der Motor ordnungsgemäß dreht. 2. Wenn der Gebläsemotor nicht vorschriftsgemäß läuft, durch einen nachweislich einwandfreien Motor ersetzen und auf ordnungsgemäße Funktion prüfen.