| EINBAULAGE DER KOMPONENTEN |

| 1. Sicherungsmutter 2. Staubkappe Aufhängung 3. Selbstsichernde Mutter 4. Federbeinlager 5. Federbeinlager 6. Oberer Federsitz |
7. Oberer Federsitzring 8. Schraubenfeder 9. Staubschutz 10. Stoßfängergummi 11. Unterer Federsitzring 12. Stoßdämpfer |
| Ausbau |
| 1. |
Radmuttern, Vorderrad und -reifen von vorderer Radnabe abnehmen.
|
| 2. |
Obere Windlaufverkleidung entfernen. (Siehe Kapitel Karosserie - "Obere Windlaufverkleidung") |
| 3. |
Strebensicherungsmuttern (A) abschrauben.
|
| 4. |
Schraube (A) der Bremssattelschlauch-Halterung und Schraube (B) der Raddrehzahlsensorhalterung ausschrauben.
|
| 5. |
Mutter (A) der Stabilisatoraufhängung herausdrehen.
|
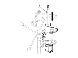
| 6. |
Schrauben lösen und Federbeineinheit (A) aus dem Achsschenkel ausbauen.
|
| 7. |
Der Einbau erfolgt in der umgekehrten Reihenfolge des Ausbaus. |
| ZERLEGUNG |
| 1. |
Schraubenfeder mithilfe des Federspanners zusammendrücken.
|
| 2. |
Mit Spezialwerkzeug (09546-3X100) die selbstsichernde Mutter lösen.
|
| 3. |
Federbeinlager, oberen Federsitz, Schraubenfeder und Faltenbalg vom Federbein abbauen. |
| 4. |
Der Zusammenbau erfolgt in der umgekehrten Reihenfolge der Zerlegung. |
| PRÜFUNG |
| 1. |
Oberes Federbeinlager auf Verschleiß und Beschädigung prüfen. |
| 2. |
Gummiteile auf Beschädigung und Verschleiß prüfen. |
| 3. |
Kolbenstange (A) niederdrücken und herausziehen und dabei auf ungleichmäßigen Widerstand und ungewöhnliche Geräuschentwicklung prüfen.
|
Behebung
| 1. |
Kolbenstange vollständig herausziehen. |
| 2. |
Federbeinpatrone im Bereich 'A' anbohren, um das Gas aus dem Zylinder entweichen zu lassen.
|
Bauteile und bauteile-Übersicht EINBAULAGE DER KOMPONENTEN 1. Getriebe 2. Stabilisator 3. Antriebswelle 4. Stabilisatoraufhängung 5.
Reparaturverfahren Ausbau 1. Radmuttern, Vorderrad und -reifen von vorderer Radnabe abnehmen. Anzugsdrehmoment.
Reparaturverfahren PRÜFUNG Selbstdiagnose mit dem Scan-Tool Mit dem KDS können Defekte am SMART KEY-System schnell erkannt werden. Das KDS kann den Stellantrieb mit Gewalt betätigen, den Eingabe-/Ausgabewert überwachen und die Selbstdiagnose durchführen.
Beschreibung und bedienung Beschreibung Der Kompressor ist die Antriebseinheit der Klimaanlage. Er befindet sich an der Seite des Motorblocks und wird mit einem Keilrippenriemen vom Motor angetrieben. Der Kompressor verändert den niedrigen Druck und das Kältemittelgas mit niedriger Temperatur in hohen Druck und Kältemittelg