| Beschreibung |
Aufgrund der beträchtlich häufigeren Startvorgänge führt die oft auftretende elektrische Last zu Spannungsabfällen im Fahrzeugnetzwerk.
Um die Stromversorgung für bestimmte spannungsempfindliche elektrische Bauteile zu stabilisieren, wird ein DC/DC-Wandler zusammen mit der ISG-Funktion verwendet.
Der DC/DC-Wandler verfügt über ein Relais mit einer Spannung, die während des Startvorgangs konstant bleibt.
Der DC/DC-Wandler befindet sich hinter dem Handschuhfach.
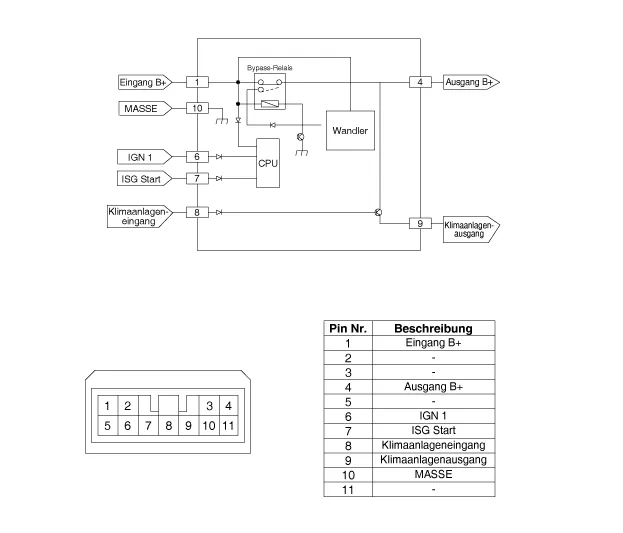
Über die Prüfkabel für Eingangsspannung und Anlasserrelais entscheidet die Elektronik, ob die Stromzufuhr zum Ausgang über die Umgehung oder DC/DC-Wandler erfolgt.
Im Umgehungsmodus wird die on-board-Versorgungsspannung nicht durch den DC/DC-Wandler, sondern direkt an die Ausgänge übertragen. In der Verstärkerphase wird die Fahrzeugspannung angepasst.
| ARBEITSPRINZIP |

|
| BAUTEILE-ÜBERSICHT |

| 1. DC/DC-Wandler [Linkslenkung]
|
2. DC/DC-Wandler [Rechtslenkung]
|
| Schaltplan |

| Ausbau |
| 1. |
Batteriemassekabel abklemmen. |
| 2. |
Handschuhfachgehäuse ausbauen. (Siehe Karosserie - "Handschuhfachgehäuse") |
| 3. |
DC/DC-Wandler-Steckverbinder (A) abziehen. |
| 4. |
Muttern abschrauben und DC/DC-Wandler (B) ausbauen.
(Linkslenkung)
(Rechtslenkung)
|
| Einbau |
| 1. |
Der Einbau erfolgt in der umgekehrten Reihenfolge des Ausbaus.
|
Technische daten SPEZIFIKATION ▷ 13,5V, 130A [Nur ISG] Pos. SPEZIFIKATION Nennspannung 13,5V, 130A Drehzahl im Betrieb 1.
Technische daten SPEZIFIKATION ▷ AGM60L-DIN Pos. SPEZIFIKATION Kapazität (20 h / 5 h) (Ah) 60/48 Kaltstart-Amperezahl (A) 640 (SAE) / 640(EN) Kapazitätsreserve (Min) 100 • Modelltypbeschreibung • Kaltstartamperezahl (CCA): Die Kaltstartamperezahl ist eine Kennzahl, die in der Batterieindustrie dafür benutzt wird, die Fähigkeit einer Batterie zu definieren, einen Motor bei niedrigen Temperaturen zu starten.
Bauteile und bauteile-Übersicht BAUTEILE-ÜBERSICHT 1. Sitzheizungseinheit (nur Beifahrersitz) 2. Vordersitzlehnenheizung 3. Vordersitzpolsterheizung Schematische darstellungen Schaltplan Reparaturverfahren PRÜFUNG 1.
Bauteile und bauteile-Übersicht BAUTEILE-ÜBERSICHT 1. Sitzheizungsschalter Fahrerseite 2. Sitzheizungsschalter Beifahrerseite Beschreibung und bedienung Beschreibung Intelligente Steuerungstechnologie der Sitzheizung • Um Niedertemperatur-Verbrennung zu vermei