| Beschreibung |
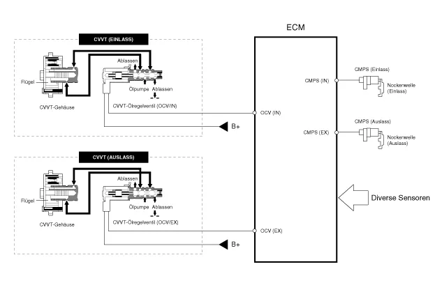
Die stufenlos verstellbare Ventilsteuerung (CVVT) verstellt die Ventilsteuerung von Einlass- und Auslassventil in Richtung 'früh' oder 'spät' gemäß dem ECM-Steuersignal, das anhand von Motordrehzahl und -last berechnet wird.
Das CVVT-System steuert die Ventilüberschneidung, und senkt hierdurch den Kraftstoffverbrauch und reduziert die Abgase (NOx, HC). Das CVVT-System steigert die Motorleistung durch eine Verringerung der Pumpenverluste, den internen AGR-Effekt, eine Verbesserung der Verbrennungsstabilität, eine Verbesserung des volumetrischen Wirkungsgrads und eine Erhöhung der Expansionsarbeit.
Dieses System besteht aus:
| – |
CVVT-Ölsteuerventil (OCV), das den Nocken-Zeiger mit Öl versorgt oder das gemäß dem Steuersignal vom ECM PWM (Impulsdauermodulation) Motoröl aus dem Nocken-Zeiger herauslaufen lässt, |
| – |
CVVT-Öltemperatursensor (OTS), der die Motoröltemperatur misst, |
| – |
und Nockenphaser, der die Nockenphase durch die vom Motoröl erzeugte Hydraulikkraft variiert. |
Das Motoröl, das durch das CVVT-Ölregelventil fließt, verstellt die Nockenwelle in Richtung (Einlass-In Richtung früh verstellen/Auslass-In Richtung spät verstellen) oder in entgegengesetzte Richtung (Einlass-In Richtung spät verstellen/Auslass-In Richtung früh verstellen) der Motordrehung, indem der Rotor gedreht wird, der an die Nockenwelle im Phasenwandler angeschlossen ist.

| ARBEITSPRINZIP |
Das CVVT verfügt über einen Mechanismus, der den Rotorflügel mit Hydraulikkraft dreht, die von dem Motoröl erzeugt wird, das der nach früh oder nach spät verstellten Kammer gemäß der CVVT-Ölregelventilsteuerung zugeführt wird.

| [CVVT-Systemmodus] |

|
(1) Niedrige Drehzahl / Niedrige Last |
(2) Teillast |
|
|
|
|
(3) Niedrige Drehzahl / Hohe Last |
(4) Hohe Drehzahl / Hohe Last |
|
|
|
|
Fahrbetrieb Bedingung |
Auspuffventil |
Einlassventil |
||
|
Ventil Steuerung |
Auswirkung |
Ventil Steuerung |
Auswirkung |
|
|
(1) Niedrige Drehzahl /Niedrige Last |
vollständig FRÜH |
* Ventilunterschneidung * Verbesserter Wirkungsgrad bei der Verbrennung |
vollständig SPÄT |
* Ventilunterschneidung * Verbesserter Wirkungsgrad bei der Verbrennung |
|
(2) Teillast |
SPÄT |
* Stärkere Ausdehnung * Pumpenverlustminimierung * HC-Reduzierung |
SPÄT |
* Pumpenverlustminimierung |
|
(3) Niedrige Drehzahl /Hohe Last |
SPÄT |
* Stärkere Ausdehnung |
FRÜH |
* Verhinderung der Ansaugluftrückströmung (Verbesserung des Wirkungsgrads)
|
|
(4) Hohe Drehzahl /Hohe Last |
FRÜH |
* Pumpenverlustminimierung |
SPÄT |
* Verbesserung des Wirkungsgrads |
Beschreibung und bedienung Beschreibung Der Katalysator des Benzinmotors ist ein Dreiwege-Katalysator. Er oxidiert Kohlenmonoxide und Kohlenwasserstoffe (HC) und trennt Sauerstoff von den Stickoxiden (NOx).
Spezialwerkzeuge SPEZIALWERKZEUGE Werkzeugbezeichnung / Nummer Abbildung Beschreibung Kraftstoffdruckmanometer 09353-24100 Zur Druckmessung in der Kraftstoffleitung Adapter, Kraftstoffdruck-Messer 0K353-D4100 Zum Anschluss zwischen Hochdruck-Kraftstoffpumpe und Niederdruck-Kraftstoffzufuhrleitung zum Messen des Drucks in der Kraftstoffleitung Steckschlüssel für die beheizte Lambdasonde 09392-1Y100 Zum Aus-/Einbau der beheizten Lambdasonde ※SST 09392-2H100 kann ebenso verwendet werden Drehmomentschlüsseleinsatz 09314-3Q100 oder 09314-27130(19mm) Verwendet für Aus-/Einbau der Hochdruck-Kraftstoffleitung Injektor-Dichtringführung und Kalibrierwerkzeug 09353-2B000 Zum Einbau der Dichtung am Einspritzventil Fehlersuche GRUNDSÄTZLICHE FEHLERSUCHE ABLAUF DER GRUNDSÄTZLICHEN FEHLERSUCHE KUNDENCHECKLISTE ALLGEMEINE PRÜFVERFAHREN BEDINGUNGEN FÜR DIE WIDERSTANDSMESSUNG ELEKTRONISCHER BAUTEILE Bei heißem Motor (direkt nach der Fahrt) kann der gemessene Widerstandswert vom Sollwert abweichen.
Bauteile und bauteile-Übersicht BAUTEILE-ÜBERSICHT 1. Kamera für die Rückansicht 2. AVN-Haupteinheit 3. Lenkwinkelsensor Beschreibung und bedienung Beschreibung 1. Um die Sicht des Fahrers nach hinten zu verbessern, wird ein Bildsignal von der Fahrzeugrücks
Beschreibung und bedienung Beschreibung Der PTC (Positiver Temperaturkoeffizient)-Zuheizer befindet sich am Ausgang oder auf der Rückseite des Wärmetauschers. Beim PTC-Zuheizer handelt es sich um einen elektrischen Zuheizer mit PTC-Element als zusätzlichem Heizgerät, das die unzureichende Heizungsleistung bei hoch-effiziente