Kia Stonic (YB): Antriebsstrang / Dampfschlauch und Kraftstofftankdeckel

Kia Stonic (YB) Reparaturanleitung / Wartung / Antriebsstrang / Dampfschlauch und Kraftstofftankdeckel

Reparaturverfahren

PRÜFUNG

Dampfschlauch

1.

Alle Schellen auf festen Sitz und alle Anschlüsse auf Undichtigkeit prüfen.

2.

Dampfleitungen und -schläuche per Sicht auf Risse, Undichtigkeiten, lose Anschlüsse oder Verformung prüfen.

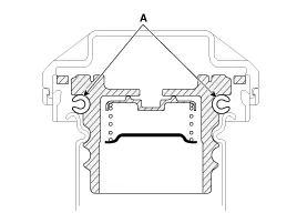
Tankdeckel

1.

Per Sicht prüfen, ob Tankdeckel und -dichtung (A) verformt oder beschädigt sind.

    Reparaturverfahren PRÜFUNG [Kappa 1,0 T-GDI] Ventilspiel kontrollieren. Bei Bedarf das Ventilspiel durch Ersetzen der Stößel einstellen.

    Weitere Informationen:

    Kia Stonic (YB) Reparaturanleitung: Schalter heckscheiben-waschanlage

    Reparaturverfahren PRÜFUNG Überprüfung des Kombischalters 1. In den einzelnen Schalterpositionen zwischen den Klemmen wie unten gezeigt auf Durchgang prüfen. [Linkslenkung] Schalter Schalter-position Schalterklemme Widerst

    Kia Stonic (YB) Reparaturanleitung: PTC-Heizung

    Beschreibung und bedienung Beschreibung Der PTC (Positiver Temperaturkoeffizient)-Zuheizer befindet sich am Ausgang oder auf der Rückseite des Wärmetauschers. Beim PTC-Zuheizer handelt es sich um einen elektrischen Zuheizer mit PTC-Element als zusätzlichem Heizgerät, das die unzureichende Heizungsleistung bei hoch-effiziente

    Kategorien

     
    Copyright © 2026 www.stonicde.com - 0.0148